光学
光学矩阵
概念
在几何光学中, 对于任何光学元件, 我们都可以用一个矩阵来描述其对傍轴光线的改变, 称为光学矩阵。
如下模型图所示:


可以用光线与光学元件交点与光轴的偏移
出射光线为
且有关系
其中
例子
- 自由空间传播距离

有关系式
即
故长度为
- 平面界面上的折射

- 薄透镜

- 球面界面上的折射

在球心
可近似为
得到
由
则
波动光学
定态光波和复振幅描述
- 定态光波
- 平面波
- 球面波
复振幅描述
光强
波前
- 波面:相位相等曲面
- 波前:光波场中任意曲面
- 共轭波:复振幅共轭的波

- 傍轴条件(振幅)
- 远场条件(相位)
波的叠加和干涉
- 波的干涉
- 相干条件:
- 频率相同
- 存在相互平行的振动分量
- 相位差稳定
- 干涉条纹的反衬度
- 双光干涉光强分布
两个点源的干涉
- 两列球面波的干涉
杨氏双缝干涉实验

- 两列平面波的干涉

衍射和惠更斯-菲涅耳原理
- 惠更斯-菲涅耳原理:波前
上的每个面元 都可以看成是新的振动中心,它们发出次波,在空间某一点 的振动是所有这些次波在该点的相干叠加。

- 菲涅耳-基尔霍夫衍射公式:

- 巴比涅原理:互补屏造成的衍射场中复振幅之和等于自由波场的复振幅。
- 衍射分类:

菲涅耳圆孔/圆屏衍射
现象:


解释:(只能解释轴上光强)
- 半波带法
- 矢量图法
- 菲涅耳波带片

夫琅和费单缝/矩孔衍射
现象:

单缝衍射强度公式:

- 矩孔衍射强度公式:

- 单缝衍射因子特点:

- 主极强——零级衍射斑
- 次极强——高级衍射斑
- 暗斑
- 半角宽度
光学仪器的像分辨本领
- 夫琅和费圆孔衍射光强分布:
其中
下图演示圆孔衍射因子和衍射图样 
- 艾里斑:第一暗环的角半径
- 望远镜的最小分辨角:
光的横波性和偏振态
光的横波性:以电矢量作为光波中振动矢量的代表

五种偏振态:
- 自然光
- 线偏振光
- 马吕斯定律
- 部分偏振光
- 偏振度
- 圆偏振光
- 椭圆偏振光
菲涅耳公式
- 菲涅耳反射折射公式

- 反射率和透射率
| p分量 | s分量 | |
|---|---|---|
| 振幅反射率 | ||
| 光强反射率 | ||
| 能流反射率 | ||
| 振幅透射率 | ||
| 光强透射率 | ||
| 能流透射率 |
将菲涅耳公式带入有:
- 斯托克斯倒逆关系

- 相位关系和半波损


干涉装置 光场时空相干性
分波前干涉装置
- 分波前干涉装置
菲涅耳双面镜

菲涅耳双棱镜

劳埃德镜

- 条纹形状与间距
其中
- 光源宽度对干涉条纹衬比度的影响


- 光场的空间相干性

相干范围的孔径角
薄膜干涉-等厚条纹
- 楔形薄膜的等厚条纹

- 牛顿圈

薄膜干涉-等倾条纹
- 无穷远的等倾干涉条纹


迈克尔孙干涉仪
- 迈克尔孙干涉仪结构

- 干涉条纹


- 精密测长

- 时间相干性
相干长度
多光束干涉
- 多光束干涉

透射光强
反射光强
其中
- 干涉条纹的半值宽度

单色光第
- 法布里-珀罗干涉仪

法-珀腔

- 光谱的精细结构
对于双谱线

可分辨最小波长间距
其中
衍射光栅
光栅:有周期性的空间结构或光学性能的衍射屏。

多缝夫琅和费衍射
- 实验装置和现象


缝衍射的光强分布
- 单缝衍射因子
- 缝间干涉因子

- 缝间干涉因子
- 主极强
- 零点位置
其中,
- 主极强半角宽度

- 单缝衍射因子

光栅光谱仪
- 分光原理
光栅公式:

- 光栅的色散本领和色分辨本领
- 色散本领:
角色散本领
线色散本领
记光栅后凸透镜的焦距为
对于光栅常数
- 色分辨本领:
瑞利判据

色分辨本领
- 量程与自由光谱范围
量程
自由光谱范围
- 闪耀光栅
闪耀角

取 1 级闪耀波长

同样的,取 2 级闪耀波长
光在晶体中的传播
双折射

- 概念
- o光:寻常光(ordinary)
- e光:非常光(extraordinary)
- 光轴:o光和e光不分开的方向
- 主截面:界面法线和光轴所成平面
- 单轴晶体中的波面

- 惠更斯作图法

晶体光学器件
- 晶体偏振器



- 波晶片——相位延迟片

o光相位相对e光延迟了
- 四分之一波长片(
片) - 二分之一波长片(
片) - 全波片
(椭)圆偏振光的获得和检验
- 振动合成

- (椭)圆偏振光的获得

- 偏振光的检验

偏振光干涉及其应用
偏振光干涉

光测弹性

克尔效应与泡克尔斯效应
- 克尔效应(二次电光效应)
- 泡克尔斯效应(线性电光效应)
旋光
- 石英的旋光效应

振动面旋转角度
比例系数
- 磁致旋光——法拉第旋转
- 对于给定的介质,振动面的转角
与样品的长度 和磁感应强度 成正比
比例系数
- 自然旋光与磁致旋光

光的吸收、色散和散射
光的吸收
光在介质传播会被吸收或消耗。分为真吸收和散射,前者把光能转换成热能,后者只是向各个方向散射。
- 吸收的线性规律
其中
- 复数折射率
对于平面波
引入复数折射率
吸收系数
- 普遍吸收:吸收系数
与波长 无关。 - 选择吸收
光的色散
色散:光的传播速度
- 正常色散

柯西公式
- 反常色散

群速
两列波
令
设
合成波列
- 群速
- 相速

光的散射
- 瑞利散射定律:
反比律
以无量纲物理量
瑞利散射 ( ) 米氏散射 ( ) 非选择性散射 光学区域,折反定律
- 拉曼散射:非弹性散射现象,散射光频率相对入射光偏移。
光的量子性 激光
热辐射
辐射场的描述:
辐射能的分布函数
分布在以
为中心的频段 内以 方向为轴的立体角元 内的能量为基尔霍夫热辐射定律:
热平衡状态下物体的辐射本领与吸收本领成正比,比值只与
有关。绝对黑体:在任何温度下都把照射在其上任何频率的辐射能完全吸收。
斯特藩-波尔兹曼定律: 黑体辐射的辐射本领
与绝对温度 的四次方成正比,即比例常数
称为斯特藩-波尔兹曼常数。维恩位移定律:在任何温度下
曲线都有一最大值,对应波长为 ,有其中普适常数
普朗克公式:
普朗克能量子假说:频率为
的谐振子,其能量取值为 的整数倍, 称为能量子。
光的粒子性和波粒二象性
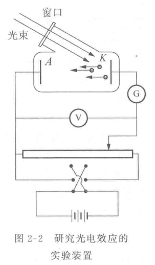
光电效应:


- 饱和电流:饱和电流与光强成正比,单位时间内从阴极发出的光电子数与光强成正比
- 遏止电压:遏止电压
与光强无关 - 截止频率(红限):
与 成正比 - 弛豫时间
爱因斯坦光子假说
- 光子能量
其中 为金属的脱出功(功函数)
- 光子能量
波尔原子模型与爱因斯坦辐射理论
- 波尔原子模型
- 爱因斯坦辐射理论
- 自发辐射、受激辐射、受激吸收

- 爱因斯坦系数
受 激 吸 收 系数自 发 满足 - 自发辐射、受激辐射、受激吸收
激光的产生

激活介质中反转分布的实现

谐振腔的作用
阈值增益激光 (laser,Light Amplification by Stimulated Emission of Radiation)
激光器 (受激辐射光振荡器)
激光器对频率的选择

每个谐振频率称为一个振荡纵模
- 纵模间隔
- 单模线宽
- 激活介质自身谱线的半值宽度
,主要影响因素:自然线宽、碰撞展宽、多普勒展宽
激光的特征及应用
- 激光光束特征:
- 方向性好
- 单色性好
- 高亮度
- 相干性好
- 应用: 激光测距、激光加工、医学、激光核聚变